
Parfait pour les rénovations
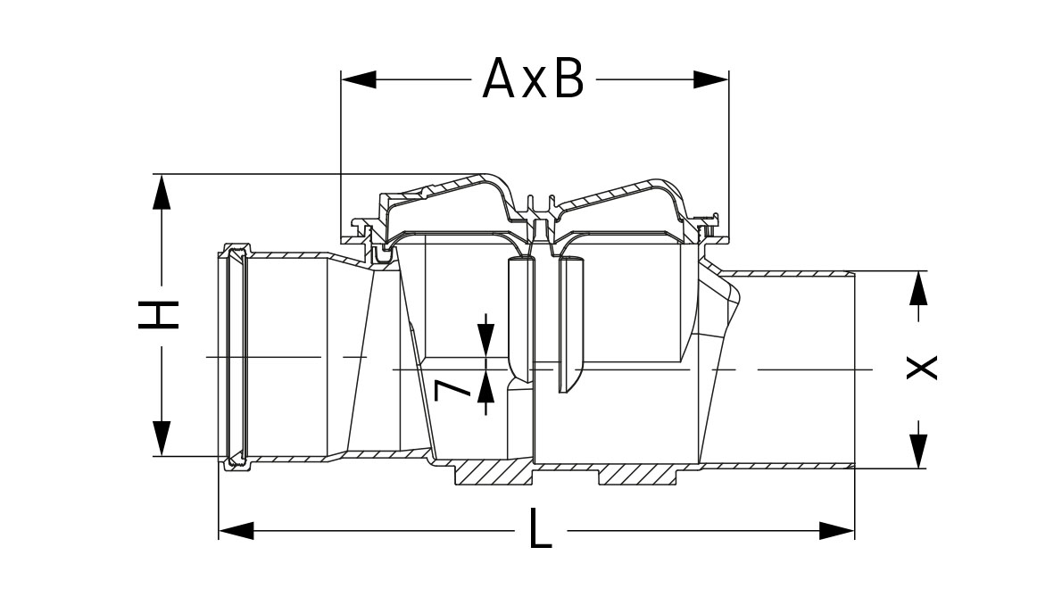
Si un clapet antiretour ne s'adapte plus à la canalisation existante, cela peut se traduire par une augmentation des travaux et des coûts. La différence de niveau du Staufix Basic n'est que de 7 mm entre l'arrivée et l'écoulement, ce qui permet de l'intégrer sans problème. La version « Corps de base tuyau de nettoyage" peut être utilisée comme élément de nettoyage.

Fonctionnement impeccable et entretien sans outils
Le Staufix Basic est entièrement en composite, ce qui le protège de la corrosion. Mais ce n'est pas la seule chose qui le rend facile à utiliser. Grâce à ses fermetures rapides pratiques, le clapet antiretour peut être ouvert sans outil pour l'entretien.

Vous n’avez pas trouvé le produit qui vous convient ?
En complément à nos clapets antiretour standard, nous développons, à la demande du client, des solutions individuelles répondant à des exigences particulières en termes de forme, de fonction et de dimensionnement.

























